اپل چگونه دوربین را به اپل واچ اضافه خواهد کرد
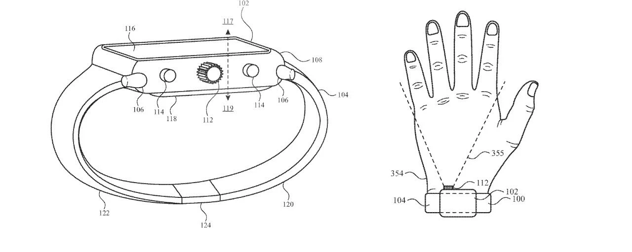
اپل در حال بررسی راهکاری برای اضافه کردن دوربین در اپل واچ آینده خود میباشد. طبق گزارش وبسایت AppleInsider، تازهترین ایدهی محققان این شرکت بر این اساس است که سنسور دوربین را درون دکمهی چرخان اپل واچ قرار دهند. در صورت عملی شدن این ایده، کاربران میتوانند با قرار دادن دکمهی چرخان ساعت به سمت سوژهی مورد نظر از آن عکس بگیرند.
وجود یک دوربین روی ساعت اپل واچ به شما این امکان را خواهد داد تا دیگر نیازمند حمل گوشی خود برای عکاسی و فیلمبرداری نباشید. طبق پتنت جدید اپل، چنین ایدهای میتواند با اضافه کردن یک دوربین در دکمهی چرخان اپل واچ به حقیقت بپیوندد.
ظاهراً اپل برای رفع نگرانی در زمینه حریم شخصی افراد تدابیری اندیشیده و معیارهای حفظ حریم خصوصی را در آن لحاظ خواهد کرد. طبق این گزارش اپل درباره این موضوع اعلام کرده: «نگرانیها درباره جمعآوری، آنالیز، انتقال و ذخیره اطلاعات شخصی دیگران با استفاده از این دوربین، از طریق برقراری یک سری سیاستهای الزامآور حریم خصوصی برطرف خواهد شد».

اپل قبلا یک ایده برای استفاده از دوربین زیر صفحهنمایش در اپل واچ داشت ولی با این ایده فرق دارد، راهکار جدید در واقع اشاره به تعبیه دوربین در لبه کناری ساعت اپل واچ دارد.
احتمالاً استفاده از این دوربین با یک مشکل بزرگ روبرو باشد، در این گزارش نیز به آن اشاره شده، افتادن بخشی از مچ دست کاربر در تصویر ثبتشده خواهد بود. ولی برای رفع این مشکل راهکاری ذکر شده، مکانیسمی درنظر گرفته خواهد شد تا امکان جدا کردن سوژه عکس از مچ دست وجود داشته باشد. شاید هم شما مجبور باشید ساعت را بهکلی از دستتان باز کنید و عکاسی کنید.

طبق این گزارش، اپل به نحوه قرار گرفتن دوربین در داخل دکمهی چرخان اشاره کرده است، بازشدگی دریچه دیافراگم دوربین که میزان نور ورودی به آن را تنظیم میکند، از طریق چرخش دکمهی چرخان افزایش یا کاهش مییابد. همچنین لنز و سنسور تصویر نیز در داخل دیافراگم یا پشت آن تعبیه خواهد.
البته باید در نظر داشت که دکمهی چرخان یک قطعه مکانیکی و پیچیده است جاسازی لنز و سنسور دوربین در داخل آن با مشکلاتی مواجه خواهد بود، ولی احتمالاً این کار با بازطراحی دکمهی چرخان اپل واچ و ایجاد فضای کافی برای قراردادن قطعات دوربین ممکن خواهد شد. هنوز به طور قطعی معلوم نیست که این ایده در نهایت به واقعیت تبدیل میشود یا نه. جالب است بدانید این اولین ساعت هوشمند با دوربین نخواهد بود. سامسونگ در ساعت هوشمند خود به نام Galaxy Gear یک دوربین را در بند ساعت تعبیه کرده بود.
دیدگاه خود را بنویسید